




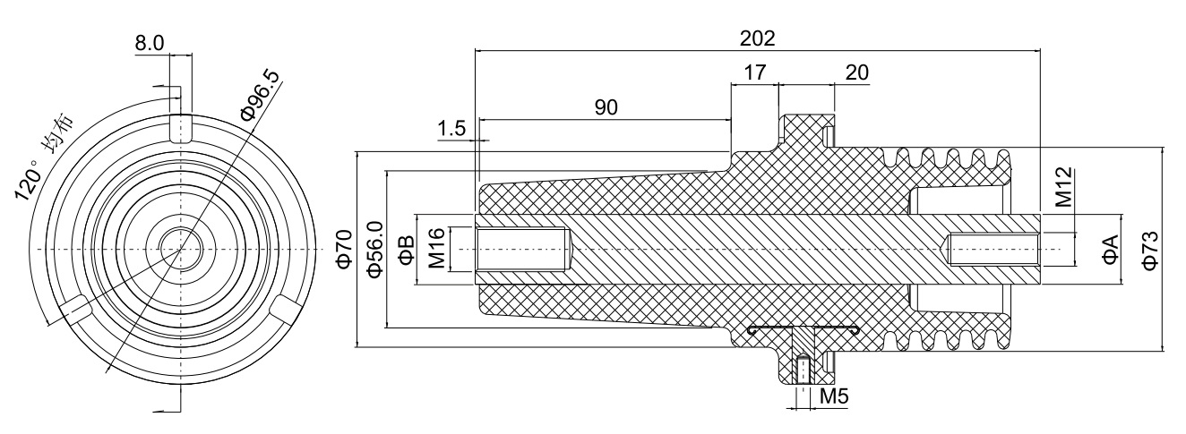
Zs202 casing is mainly used in SF6 inflatable cabinet, can effectively seal the cabinet insulation medium, support and fixed cable and copper row, rated current can achieve 630A 1250A voltage grade 35kV, the material of high quality epoxy resin and copper, using non-local induction network, can shield grounding or connected to live display.








Write your message here and send it to us












